What People Are Saying
Trusted by leaders across healthcare, technology, enterprise software, and beyond.
“Your quick impact and ability to constructively challenge our thinking has been invaluable.”
Senior Executive
Product & Engineering Leadership | Enterprise B2B SaaS
“Alyssa's market research and strategic guidance were instrumental in shaping our product roadmap.”
Jason Prestinario
CEO | Particle Health
“Keith brought exceptional technical leadership during a critical infrastructure transformation.”
Mohit Kadahari
Co-founder | Sprect
“Working with Alyssa on brand building and the 0-to-1 transition was transformative.”
Lisa Davis
Founder & CEO, Former CIO Blue Shield | Davis Core Advisory
“During our COVID response and digital transformation initiatives, Alyssa's leadership was invaluable.”
Christine McKinney
VP Customer Experience | Blue Shield of California
“I've been using Coach Koala - loving it :-) We had a really good conversation about retail investors.”
Shadi Copty
Founder | Fortusight
“The AI demo was truly impressive — showing how AI can revolutionize marketing workflows.”
Marketing Executive
Enterprise Client | Fortune 500 Company
“Alyssa helped me bring my vision to life—from brand creation to setting up my Etsy shop.”
Sumeet Bakshi
Founder | Sumeet by Hand
Selected Work
Examples pulled from the grounded.work case studies archive, simplified into a straightforward grid with no filters or extra navigation complexity.
From Concept to Product Launch: Designing Pricefx Agents
How grounded.work designed an AI pricing agent framework that launched 125 agents, signed 26 deals in six months, and became a pricing platform company's central commercial strategy.
Read case study →Navigating Ambiguity to Launch an Enterprise AI Copilot
How we guided an Enterprise B2B SaaS company through the challenges of developing and launching an AI Copilot, addressing architectural weaknesses, organizational misalignments, and unclear product direction.
Read case study →Transforming Infrastructure and Performance for a Growing Marketplace
How we modernized a professional consultation marketplace's technical infrastructure, implemented advanced search capabilities, and optimized performance while the platform continued serving active users.
Read case study →Designing and Launching an AI-Powered Marketing Assistant in 90 Days
How we designed and delivered a live demonstration of an AI-powered marketing assistant, showcasing AI capabilities to enhance marketing strategies through audience segmentation, campaign planning, and predictive analytics.
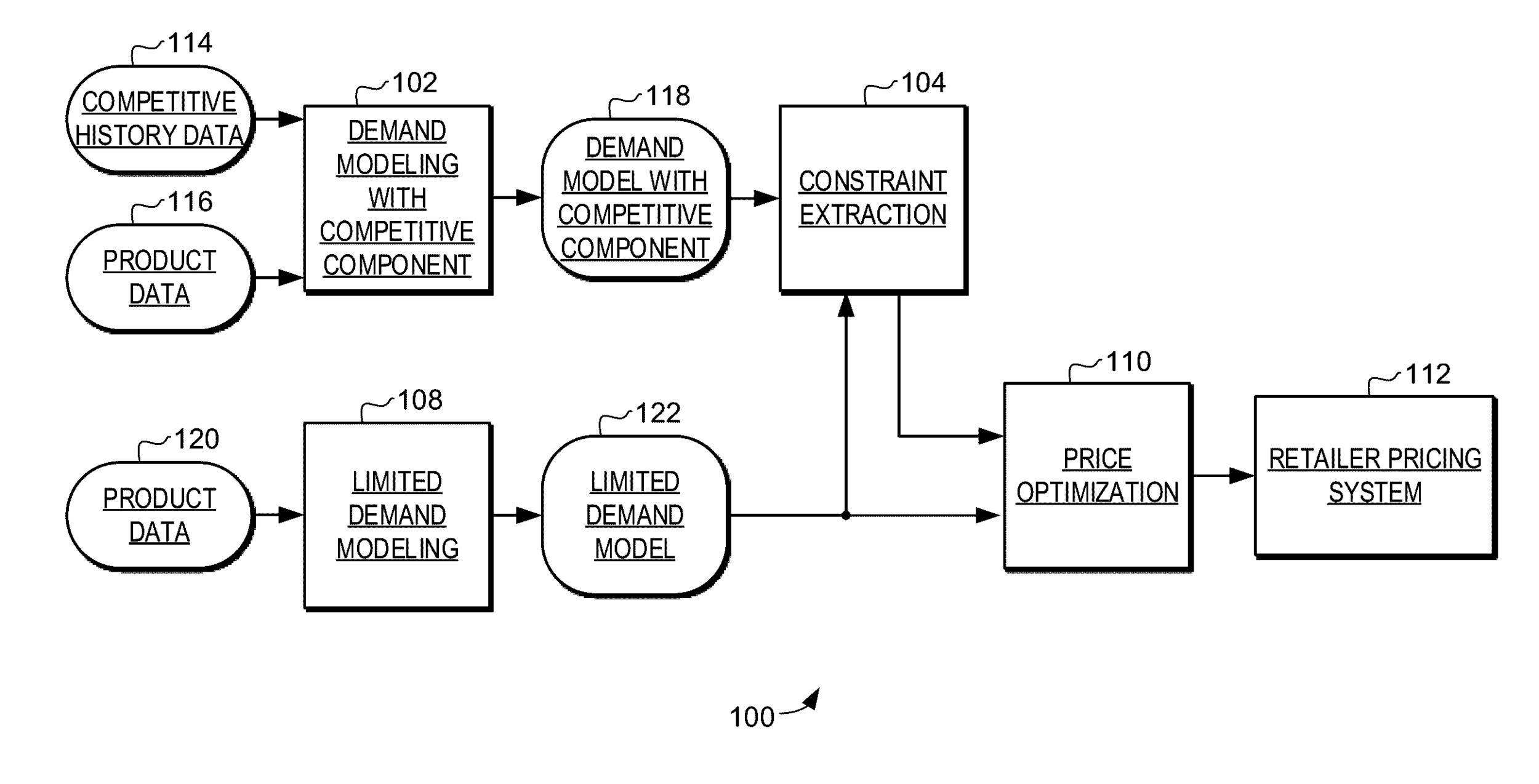
Read case study →Revolutionizing Pricing Science to Save Client Retention
How we developed an innovative pricing science feature that restored client confidence, ensured contract renewal, and introduced a patentable product differentiator.
Read case study →Creating an Immersive AI Marketing Experience
How we designed and delivered a fully immersive, interactive AI demonstration that highlights marketing technology capabilities in Customer Experience Centers, setting a vision for future product innovation.
Read case study →Scaling Teams Through Data-Driven Decisions
How we equipped research teams with robust data instrumentation and actionable insights, bridging qualitative research with behavioral data to optimize user experiences across cloud platforms.
Read case study →Turning Research into Strategy—Using Jobs-to-Be-Done
How we implemented Jobs-to-be-Done methodology to uncover user needs and transform roadmap investments, resulting in significant improvements in user experience and task completion.
Read case study →